随着现在汽车的功能越来越多,一台车所需要使用的线束也越来越多,特别是涉及到车门等活动部件上的电子功能,经常需要线束穿过车门铰链等活动部件进行布置。

但伴随着每一次车门的开合,相关线束也会受到拉扯,久而久之就容易出现故障。而近日奔驰申请了一项新的专利,目的就是消除那些穿过活动部件的线缆。

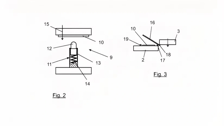
说是新专利,但是仔细研究之后你会发现这倒也不是什么新技术,简单来说就是用弹簧触点代替线缆实现电气连接。根据专利图,奔驰的设想是将其应用在分体式尾灯上,实现在减少物理线缆的情况下保证尾灯的正常协同工作。

在手机、家电等数码产品上,触点连接的方式其实应用的非常普遍和成熟了。但在传统数码产品上,触点的存在位置一般环境都比较干净,而车辆长期在户外使用,雨水、灰尘的长期累积是否会影响触点的接触性能是要打一个问号的。另外车辆在越野等特殊极端工况下,车身可能会产生轻微形变,是否会影响触点的接触性能也是个问题。

截至目前还没有明确消息称奔驰的某款新车会使用这一专利设计,看来这一专利想要落地,还需要更多的时间来进行验证才行。
数码产品技术上车?奔驰申请新专利,用触点代替线缆
王嘻嘻








发表评论